行业新闻

锥齿轮的类别与轮齿收缩 - 齿轮名词 - 知识正基元

  分度曲面为圆锥面的齿轮。广义的可分为直线齿锥齿轮、斜齿锥齿轮、曲线齿锥齿轮。锥齿轮可组成锥齿轮副、准双曲面齿轮副、锥蜗杆副。通常是指组成锥齿轮副和准双曲面齿轮副的齿轮(图5-71)。

  直齿锥齿轮的一般特征是:取正常收缩齿;径向齿线;可加工成鼓形齿;齿廓为渐开线;可采用径向、切向变位齿形;用平顶产形齿轮展成或用仿形法加工;基本齿廓和模数按国家标准选取。国外现有制与国家标准大同小异,仅在齿形角、顶隙等有所差别。不易磨齿加工。

  齿线与分度锥母线呈螺旋角β,或在其假想的冠轮上,齿线切于某一固定圆,且呈直线)。

  斜齿锥齿轮的主要特征是:一般采用收缩齿;齿线为切向直线;齿廓通常为渐开线;可应用各种变位制和非变位制;可用平顶或平面产形齿轮展成加工。齿制类型很多,和直齿锥齿轮基本相同;多用于较大尺寸的锥齿轮。

  齿线在分度锥上呈螺旋线,在假想冠轮上呈曲线)。这类锥齿轮种类繁多,统称曲线齿锥齿轮。

  产形冠轮的齿线,是圆弧的曲线)。弧齿锥齿轮的主要特点是:等高齿弧齿锥齿轮的假想冠轮上的齿线为圆弧;收缩齿弧齿锥齿轮,假想冠轮上的齿线是准圆弧;齿廓为渐开线(球面齿廓弧齿锥齿轮例外);一般采用高变位和切向变位的综合变位制; 用平顶产形冠轮展成加工;可以磨齿,能得到具有良好齿面质量的高精度弧齿锥齿轮。可采用小、中、大三种螺旋角。它是一种最常用的曲线齿锥齿轮。

  分度曲面为双曲面的齿轮称双曲面齿轮。由于双曲面齿轮制造困难,多用接近双曲面的准双曲面作为分度曲面,这种齿轮称准双曲面齿轮,其外形极似曲线齿锥齿轮,其齿高可分为:标准收缩齿;双重双缩齿;倾斜根线收缩齿,及长幅外摆线的等高齿。

  假想冠轮的齿线),亦即渐开线齿锥齿轮。在实际切削过程中把齿面加工成鼓形齿以后,渐开线齿线发生了微小变动,这种齿线称准渐开线,故称准渐开线齿锥齿轮。主要是在格林根贝尔格(Klingelnberg)公司制造的机床上用锥形滚刀加工,这种齿轮称palloid齿轮。它的主要特点是:齿线是准渐开线,等高齿;齿线法向的齿距相等;机床调整与计算都比较简单;刀具万能性较强,同模数、同压力角、不同齿数的齿轮可用同一把刀具展成加工,具有生产率高、精度高的优点;这种齿轮不易实现磨齿,滚刀制造困难,齿轮齿线上的螺旋角变化较大,且不能制造成小螺旋角的锥齿轮。

  假想冠轮上的齿线)。摆线齿锥齿轮的主要特征是:只应用等高齿;假想冠轮上的齿线是长幅外摆线;齿廓是渐开线;一般采用综合变位制,其加工方法主要有奥利康(Oerlikon)制、菲亚特(Fiae)制;该齿轮不易磨齿,但具有机床调整方便,计算简单的特点。

  应当特别指出:近20年克林根贝尔格公司制造的长幅外摆线齿锥齿轮加工机床,可加工出硬齿面、较大直径及较大模数的摆线齿锥齿轮,并居领先地位。

  顶锥角δα、根锥角δf均为90°的锥齿轮(图5-78)。它属于等高齿锥齿轮,与普通圆柱齿轮配对可组成圆柱齿轮端面齿轮副。

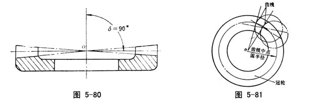
  分度锥角δ=90°的锥齿轮(图5-80)。以锥齿轮的锥顶O至节点P的距离

  为半径,作球面,在过P点的环面大圆上,形成了一个假想的圆环形平面齿轮,其模数、齿形角和相应的锥齿轮相同。它是一个节锥面为平面,当量齿数为无限多的假想齿条。冠轮和配对锥齿轮组成的齿轮副,其啮合可看作是锥齿轮与基准齿条的啮合。它是研究锥齿轮副的啮合特性,运动特性、加工工艺的基本齿条。亦即冠轮是锥齿轮的产形齿轮。

  位在弧齿锥齿轮的假想冠轮上,齿线),这种弧齿锥齿轮称零度弧齿锥齿轮。属于小螺旋角弧齿锥齿轮。它具有弧齿锥齿轮的一般特征。

  一个锥齿轮,其产形冠轮的齿面形状为平面时,称为8字啮合锥齿轮(图5-82)。由该齿轮组成的锥齿轮副,在球面上的理论啮合线”字形状的封闭曲线。

  由美国格利森公司提出的锥齿轮。主要包括:格利森制少齿数短齿直齿锥齿轮。格利森制斜齿锥齿轮;格利森制弧齿锥齿轮;格利森制零度锥齿轮;格利森制准正弦线锥齿轮。

  格利森公司加工出的鼓形直齿锥齿轮副及格利森制弧齿锥齿轮副都具有良好的啮合特性,是目前最普及、应用最广泛的锥齿轮副。

  由瑞士奥利康公司提出的曲线齿锥齿轮,属于延伸外摆线锥齿轮,亦即假想冠轮上的齿线是延伸外摆线,齿廓为渐开线等高齿。其齿轮副的啮合特性见“延伸外摆线齿轮副”。和奥利康制类似的还有德国雷内克制曲线齿锥齿轮、菲亚特制曲线齿锥齿轮等。

  德国克林根堡公司提出的曲线齿锥齿轮副,是用锥齿轮滚刀展成的曲线齿锥齿轮,其齿廓为渐开线,齿线是准渐开线,属于等高齿。其齿轮副啮合特性见“准渐开线锥齿轮副”。

  法向齿廓为凸圆弧的锥齿轮。除圆弧点啮合锥齿轮副中的小齿轮外,用“圆拉法”加工的直齿锥齿轮,亦为凸圆弧齿廓。

  法向齿廓为变态渐开线的锥齿轮。如用“对偶法”与“半展成法”加工的曲线齿锥齿轮。

  法向齿廓为直线的锥齿轮。如对偶齿廓弧齿锥齿轮副中的大齿轮,即为直线齿廓锥齿轮。

  假想冠轮上的齿线是近似正弦曲线的曲线齿锥齿轮。它是美国的一种用刨刀加工的锥齿轮(图5-84)。

  法向齿廓为渐开线的锥齿轮。是锥齿轮中最常用的一种齿廓,诸如:一般直齿锥齿轮;弧齿锥齿轮;摆线弧齿锥齿轮;渐开线锥齿轮;螺线锥齿轮;准正弦线锥齿轮等。

  在锥齿轮切齿机或锥齿轮磨齿机上,用展成加工法,沿直齿锥齿轮的齿长方向进行鼓形修形,把轮齿加工成鼓形齿,这种齿轮称鼓形齿直齿锥齿轮。

  在锥齿轮的假想冠轮上,齿线是由中点起两段阿基米德螺线)。这种齿轮称人字线锥齿轮。若由中点起的两条反向的直线组成齿线,则称直齿人字线锥齿轮。

  平均螺旋角βm=25°~40°(通常指βm=35°)的收缩齿弧齿锥齿轮。可通称锥齿轮。

  用展成法加工锥齿轮的过程中,作为切齿刀具与被加工锥齿轮相啮合的假想配对冠轮,称为被切制的锥齿轮的产形冠轮。如切制锥齿轮的刀盘即假想冠轮,是被切制的锥齿轮的产形冠轮。

  锥齿轮的轮齿,从大端到小端,齿高不变,顶锥角、分锥角、根锥角相同,锥顶点不重合,具有这些特点的锥齿轮称等高齿锥齿轮(图5-86)。该齿轮加工时机床调整方便,计算简单,但小端易产生根切和齿顶变尖,故齿宽系数与齿数要受限制。目前摆线齿锥齿轮都用等高齿,弧齿锥齿轮亦可用等高齿。

  锥齿轮轮齿,从大端到小端,齿高或齿顶宽的尺寸变化称轮齿收缩。可分正常收缩、自然收缩、双重收缩、等高齿、反向收缩等。大端与小端齿高或齿顶宽尺寸之差,表现了轮齿锥度大小的变化,所以轮齿收缩又称轮齿锥度。

  从锥齿轮的轮齿大端到小端,齿高(或齿顶厚度)逐渐减小,且顶锥、分锥、根锥顶点重合的锥齿轮(图5-87)。正常收缩齿锥齿轮组成的锥齿轮副,其顶隙从大端到小端亦是逐渐缩小的。曾广泛应用于直齿锥齿轮,近来有被等顶隙收缩齿代替的趋势。

  顶锥加快收缩,顶锥顶点落在分度锥、根锥顶点之内。顶缩锥齿轮可组成等顶隙锥齿轮副(图5-88)。

  锥齿轮或准双曲线齿轮的轮齿收缩。它改变了大轮齿根角,使根锥与大轮轴线不相交于节锥顶。倾斜根线通常应用于当粗切刀顶距和两倍精切刀顶宽之和小于最大槽宽的正常槽宽收缩。

  锥齿轮的轮齿从大端到小端齿高急剧缩小,且顶锥、分度锥、根锥的顶点不重合,亦即顶锥角急剧增大,根锥角急剧减小,形成顶锥顶点与根锥顶点分别落在分度锥顶点的内侧和外侧(图5-89)。

  该齿轮可组成等顶隙锥齿轮副。齿宽中点两个侧面的螺旋角接近相同,便于用双重双面法加工,生产率较高。

  锥齿轮轮齿从大端到小端,齿槽宽不是减小而是增大,即小端齿槽宽大于大端,这种收缩称反向收缩(图5-90)。

  锥齿轮分度锥面的锥角0<δ<90°时的锥齿轮称外锥齿轮(图5-91)。它是应用最广的锥齿轮。

  分度锥面的锥角为180°>δ>90°的锥齿轮,称内锥齿轮(图5-92)。目前已有应用。

  以锥齿轮的背锥距为分度圆半径,端面模数、端面压力角与锥齿轮相同的假想圆柱齿轮,称锥齿轮的当量圆柱齿轮,简称锥齿轮的当量齿轮(图5-93)。沿锥齿轮齿宽方向的各点处有不同的背锥距,故亦有不同的当量齿轮。

  曲线齿锥齿轮,以背锥距为分度圆半径形成的假想圆柱齿轮,是一个斜齿圆柱齿轮,称曲线齿锥齿轮的当量斜齿轮,这个当量斜齿轮的当量直齿轮称为曲线齿锥齿轮的当量直齿轮,简称曲线齿锥齿轮的当量齿轮。